L-18 murowany



Wypełnij formularz i otrzymaj rysunki w pdf z dokładnymi wymiarami budynku i pomieszczeń (długość, szerokość, wysokość) dla projektu Opuncja
Pow. użytkowa 87.08 m² |
Ilość pokoi 3 |
Powierzchnia zabudowy 118.81 m² |
Kondygnacje parterowy |
Garaż bez garażu |
Technologia murowany |
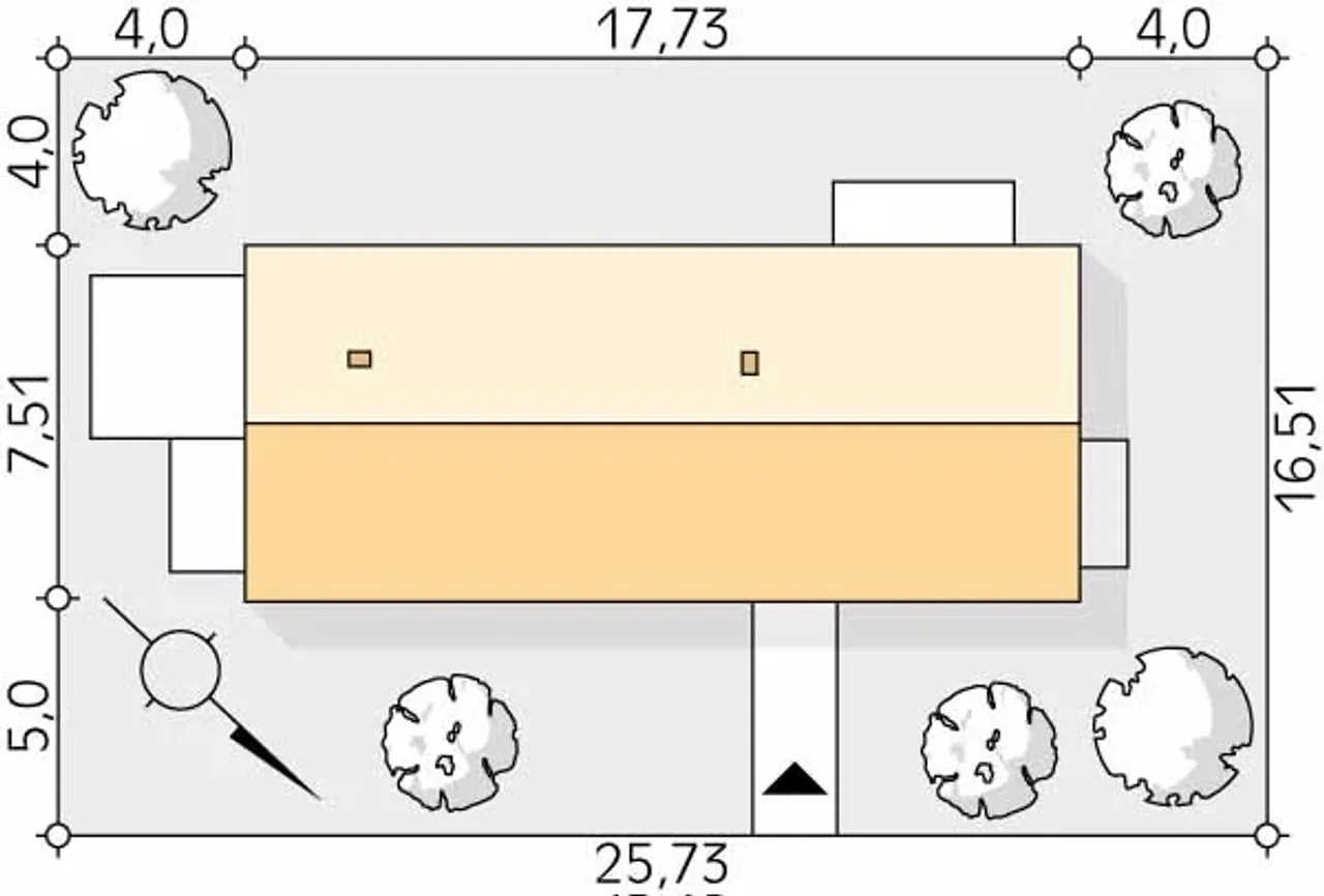
Szerokość działki 25.73 m |
Obiekt dom |
Typ domu jednorodzinny całoroczny |
Kubatura 535 m³ |
Rodzaj dachu dwuspadowy |
Powierzchnia dachu 160.67 m² |
Długość działki 16.51 m |
Wysokość budynku 6.2 m |
Bryła budynku prosta bryła |
Styl budynku nowoczesny |
Liczba łazieniek 1 |
Strop żelbetowy |
Szerokość budynku 17.73 m |
Kominek kominek w projekcie |
Kąt nachylenia dachu 40 ° |
Kalenica równoległa do drogi |
Długość budynku 7.51 m |
Piwnica bez podpiwniczenia |
Koszty budowy tylko z kosztorysem, 200-250 tys. |
Pow. użytkowa 87.08 m² |
Powierzchnia zabudowy 118.81 m² |
Garaż bez garażu |
Szerokość działki 25.73 m |
Typ domu jednorodzinny całoroczny |
Rodzaj dachu dwuspadowy |
Długość działki 16.51 m |
Bryła budynku prosta bryła |
Liczba łazieniek 1 |
Szerokość budynku 17.73 m |
Kąt nachylenia dachu 40 ° |
Długość budynku 7.51 m |
Koszty budowy tylko z kosztorysem, 200-250 tys. |
Ilość pokoi 3 |
Kondygnacje parterowy |
Technologia murowany |
Obiekt dom |
Kubatura 535 m³ |
Powierzchnia dachu 160.67 m² |
Wysokość budynku 6.2 m |
Styl budynku nowoczesny |
Strop żelbetowy |
Kominek kominek w projekcie |
Kalenica równoległa do drogi |
Piwnica bez podpiwniczenia |
Kupując projekt w technologii murowanej powinieneś budować dom murowany. Zupełna zmiana technologii na szkieletową wymaga przeprojektowania całego budynku ( zmieniają się obciążenia, fundamenty, konstrukcja dachu). Wydamy zgodę na takie przeprojektowanie jednak wiążę się to z dużymi kosztami. Istnieją firmy wykonawcze, które podejmują się zmiany technologii budowy bezpłatnie przy skorzystaniu z ich usług wykonawczych. Zdarza się, że pracownia architektoniczna przygotowuje warianty konkretnego projektu przewidując także inne technologie. Prosimy o sprawdzenie czy istnieje poszukiwana wersja projektu, w zakładce - warianty projektu.
Zwężenie/poszerzenie budynku* to nic innego jak zmiana w projekcie. Istnieje możliwość wprowadzenia takich zmian, we własnym zakresie (podczas adaptacji). *zwężenie/poszerzenie budynku nie powinno stanowić problemu w przypadku domów o dachu dwuspadowym jeśli wiąże się to z wydłużeniem/skróceniem kalenicy dachu.
Poznaj praktyczne porady ekspertów, które ułatwią Ci każdy etap budowy i od wyboru wymarzonego domu po jego wykończenie. Zyskaj pewność, że podejmujesz najlepsze decyzje dzięki sprawdzonym wskazówkom od specjalistów z planz.pl
Wycena szacunkowa, w kwotach netto, nie zawiera instalacji.
bezpłatnie (0zł)
przelew zwykły / PayNow
przy odbiorze
3-5 dni roboczych (jeśli projekt nie jest koncepcją)
Wybierz wygodny dla Ciebie czas kontaktu z naszym Doradcą Technicznym.